
MIL-PRF-52343D
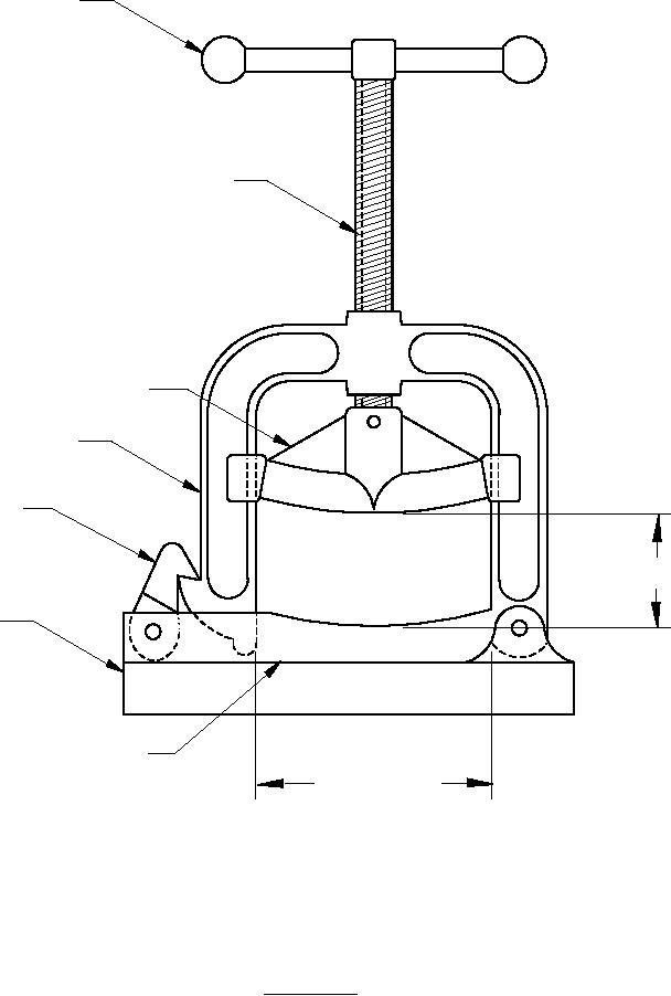
Riser Handle
Riser
Crosshead
Frame
Fastener
4.50 Min
Base
Lower jaw
7.75 Min
NOTE: Dimensions are in inches.
FIGURE 2. Hose clamp example.
9
For Parts Inquires call Parts Hangar, Inc (727) 493-0744
© Copyright 2015 Integrated Publishing, Inc.
A Service Disabled Veteran Owned Small Business